+7 933 113 06 10 | sale@unitservice-parts.ru | Москва · Ярцево | Написать Канал
Гидравлическая система

F13D/ F15D Final Tier 4

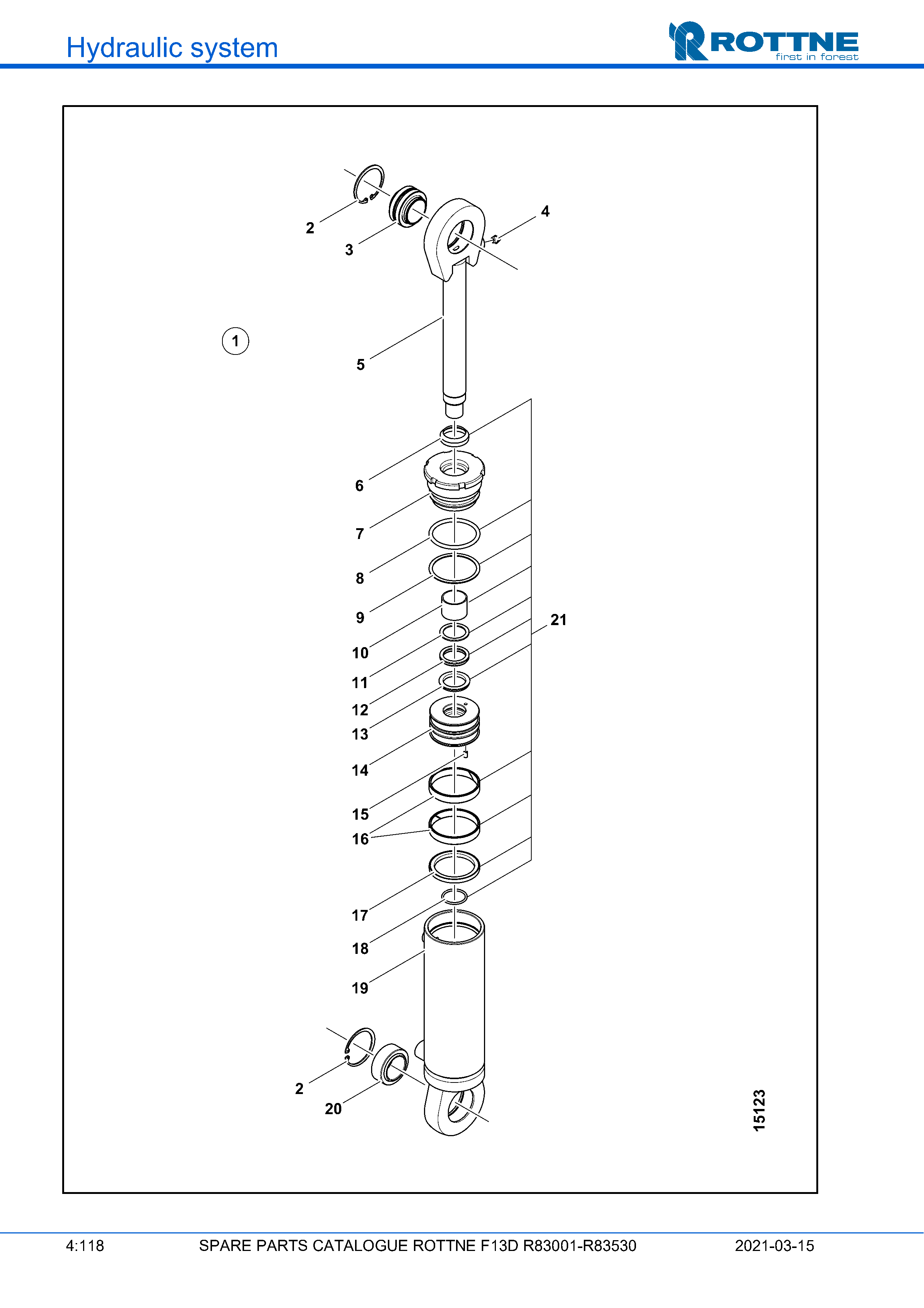
Цилиндр, сочленённая секция (F13D R83001–R83530, 2021-03-15)

Цилиндр, сочленённая секция (F13D R83001–R83530, 2021-03-15)

Поз. Кол-во Артикул Наименование
1 2 120-52513 Цилиндр сб. 80/45 L=428
2 2 621-1062 Стопорное кольцо SGH 62
3 1 645-0138 Шарнирный подшипник GEM40 ES-2RS
4 1 624-9000 Масленка R1/8" STR.
5 1 120-51123 Шток поршня Ø45 L=348
6 1 628-9013 Стриппер PA 45/55X7X10
7 1 120-52432 Гайка гидроцилиндра
8 1 626-9755 О-кольцо 69,2 X 5,7 70°
9 1 629-4555 Опорное кольцо 70/80
10 2 628-9190 Направляющее кольцо RGR 45/51X13
11 1 629-3040 Опорное кольцо 45/55 X 2
12 1 628-9067 Уплотнение штока SIL 45/55X8
13 1 628-9562 Стопорное кольцо 45/55 X 2,15
14 1 088-26402 Поршень
15 1 605-2026 Винт MSK6SS 6 X 10
16 2 628-9221 Направляющее кольцо PGR 80/74X13
17 1 628-9107 Уплотнение поршня 80/64,5X6,3
18 1 626-6330 О-кольцо 34,2 X 3,0 70°
19 1 120-46109 Гильза цилиндра Ø80 L=338
20 1 645-1938 Подшипник скольжения GE 40 TXE-2LS
21 1 660-5084 Комплект уплотнений 80/45
Не нашли нужную позицию или хотите уточнить стоимость?
Корзина