+7 933 113 06 10 | sale@unitservice-parts.ru | Москва · Ярцево | Написать Канал
Гидравлическая система

F13D/ F15D Final Tier 4

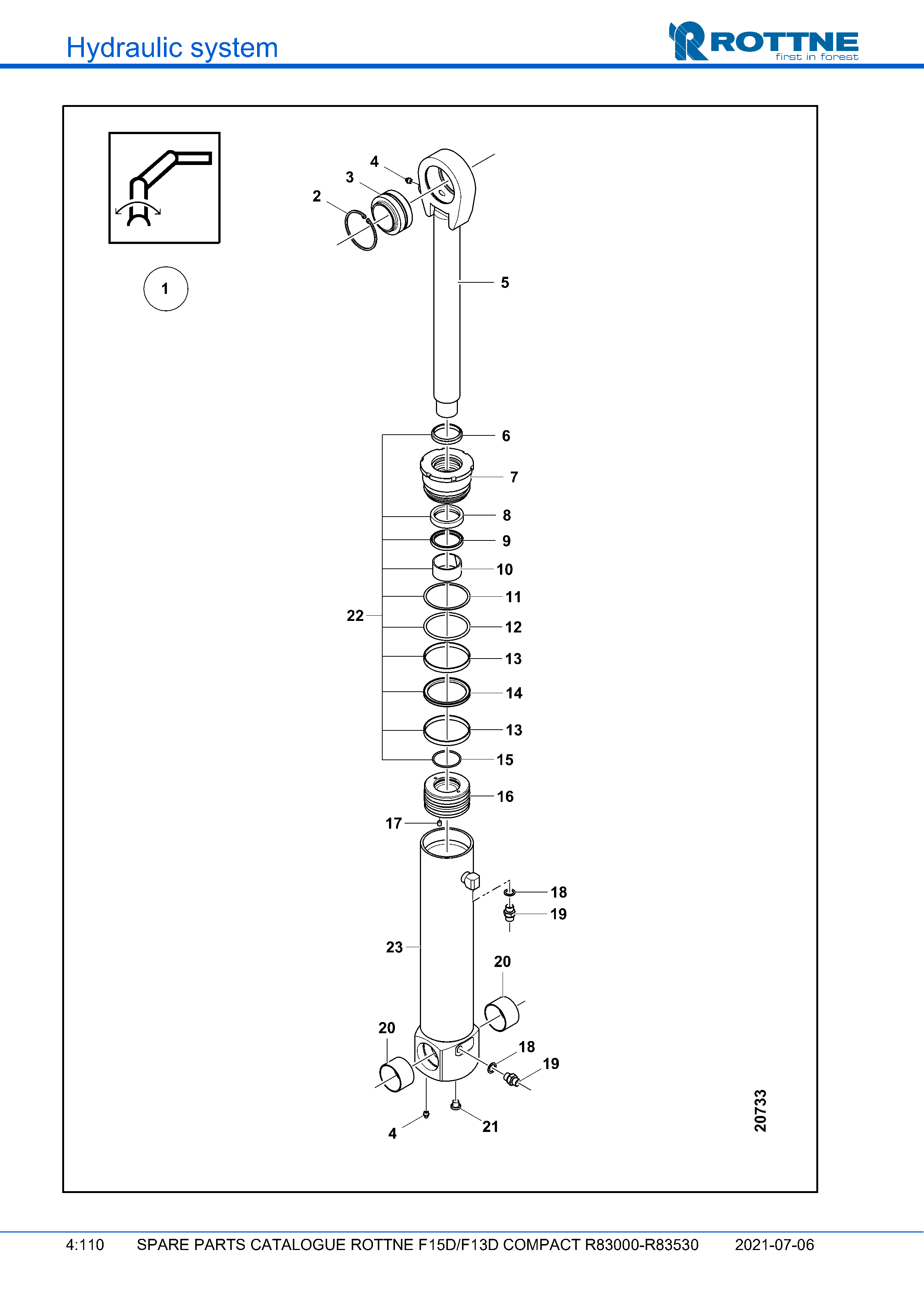
Наклон манипулятора, цилиндр (F15D/F13D COMPACT R83000–R83530, 2021-07-06, 722382)

Наклон манипулятора, цилиндр (F15D/F13D COMPACT R83000–R83530, 2021-07-06, 722382)

Поз. Кол-во Артикул Наименование
1 1 120-62320 Гидроцилиндр в сборе 100/56 L=662
2 1 621-1090 Стопорное кольцо SGH 90
3 1 645-0142 Подшипник скольжения GEM60 ES-2RS
4 3 624-9000 Масленка R1/8" STR.
5 1 120-62273 Шток поршня Ø56 L=571
6 1 628-9018 Стержень PA 56/66X7X10
7 1 071-64821 Гайка гидроцилиндра
8 1 628-9065 Уплотнение штока SIL 56/71X12,5
9 1 628-9066 Уплотнение штока GS 56/71,5X6,3
10 1 628-9192 Направляющее кольцо RGR 56/62X30
11 1 629-6850 Опорное кольцо 90X100
12 1 627-2755 О-Кольцо 89,1 X 5,7 70°
13 2 628-9238 Направляющее кольцо PGR 100/95X9,7
14 1 628-9116 Уплотнение поршня 100/84,5X6,3
15 1 626-8030 О-кольцо 54,5 X 3,0 70°
16 1 124-51086 Поршень
17 1 605-2034 Винт MSK6SS 8 X 10
18 2 640-0016 Резиновая шайба GBR 3/8"
19 2 633-0606 Штуцер R3/8" X R3/8"
20 2 646-4373 Втулка WB802 6040
21 1 638-5402 Заглушка с уплотнением R1/4" VSTI
22 1 120-62269 Гильза цилиндра Ø100 L=538
Не нашли нужную позицию или хотите уточнить стоимость?
Корзина