+7 933 113 06 10 | sale@unitservice-parts.ru | Москва · Ярцево | Написать Канал
Гидравлическая система

F13D/ F15D Final Tier 4

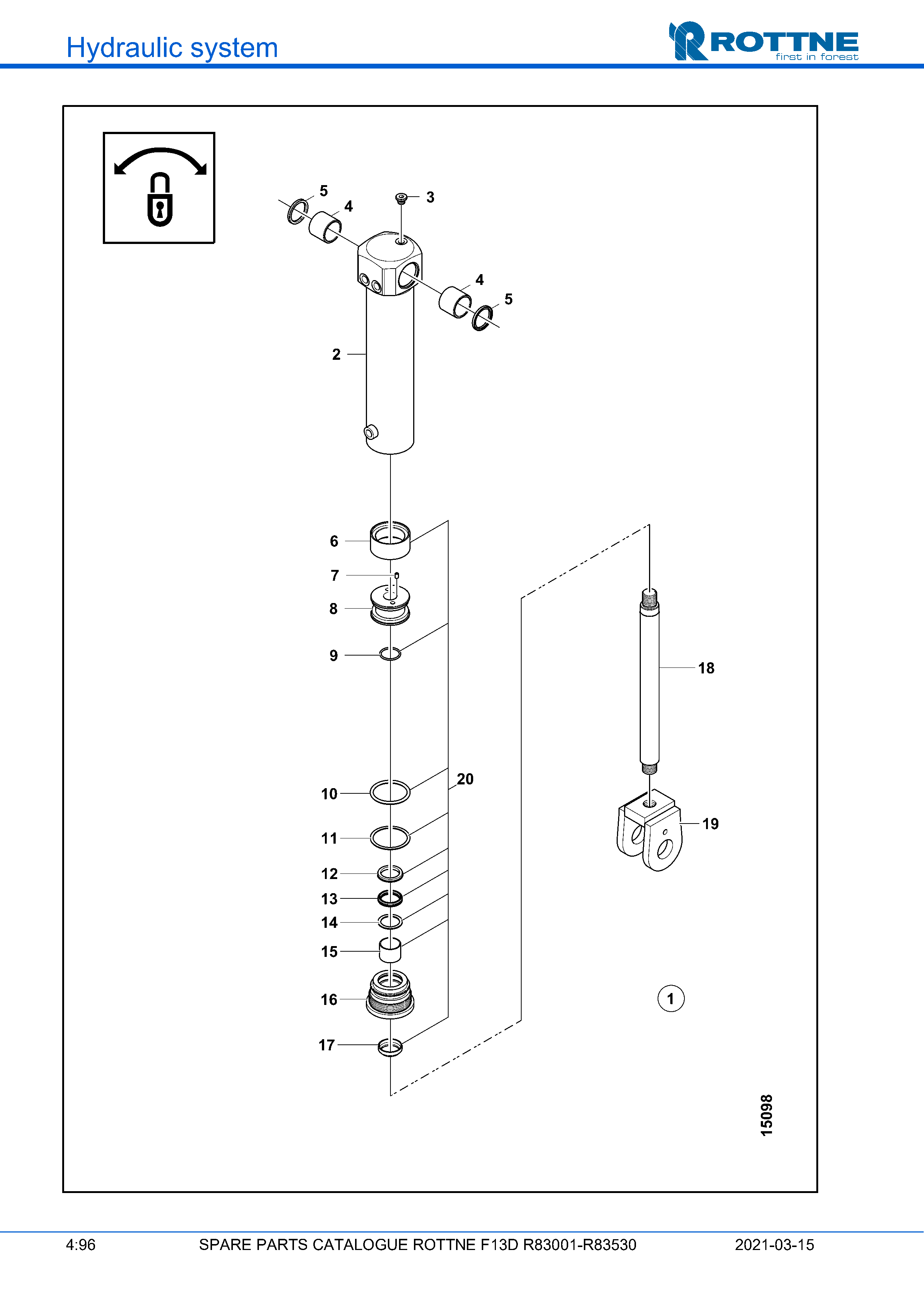
Стабилизация центрального шарнира, цилиндр (F13D R83001–R83530, 2021-03-15)

Стабилизация центрального шарнира, цилиндр (F13D R83001–R83530, 2021-03-15)

Поз. Кол-во Артикул Наименование
1 1 120-43787 Гидроцилиндр в сборе 75/36 L=515
2 1 120-42669 Гильза цилиндра Ø75 L=408
3 1 638-5402 Заглушка с уплотнением R1/4" VSTI
4 2 646-4725 Втулка PWM 404840
5 2 628-9012 Стриппер PAK 40/50X4,5 -L
6 1 628-9104 Уплотнение поршня M 75/55X22,4
7 1 605-2026 Винт MSK6SS 6 X 10
8 1 082-0008 Поршень
9 1 626-6330 О-кольцо 34,2 X 3,0 70°
10 1 626-9455 О-кольцо 64,2 X 5,7 70°
11 1 629-4250 Опорное кольцо 65X75
12 1 628-9560 Стопорное кольцо 36/46 X 1,85
13 1 628-9072 Уплотнение штока RSA 36/46
14 1 629-2820 Опорное кольцо 36/46 X 2
15 1 628-9208 Направляющее кольцо RWR 36/40X30
16 1 082-0009 Гайка гидроцилиндра
17 1 628-9010 Стержень PA 36/45X7X10
18 1 120-43789 Штоковая труба Ø36 L=414
19 1 120-43800 Проушина штока
20 1 660-2073 Комплект уплотнений 75/36
Не нашли нужную позицию или хотите уточнить стоимость?
Корзина