+7 933 113 06 10 | sale@unitservice-parts.ru | Москва · Ярцево | Написать Канал
Гидравлическая система

F13D/ F15D Final Tier 4

Comfort Line, цилиндр, ред. 01 (F13D R83001–R83530, 2021-03-15)

Comfort Line, цилиндр, ред. 01 (F13D R83001–R83530, 2021-03-15)

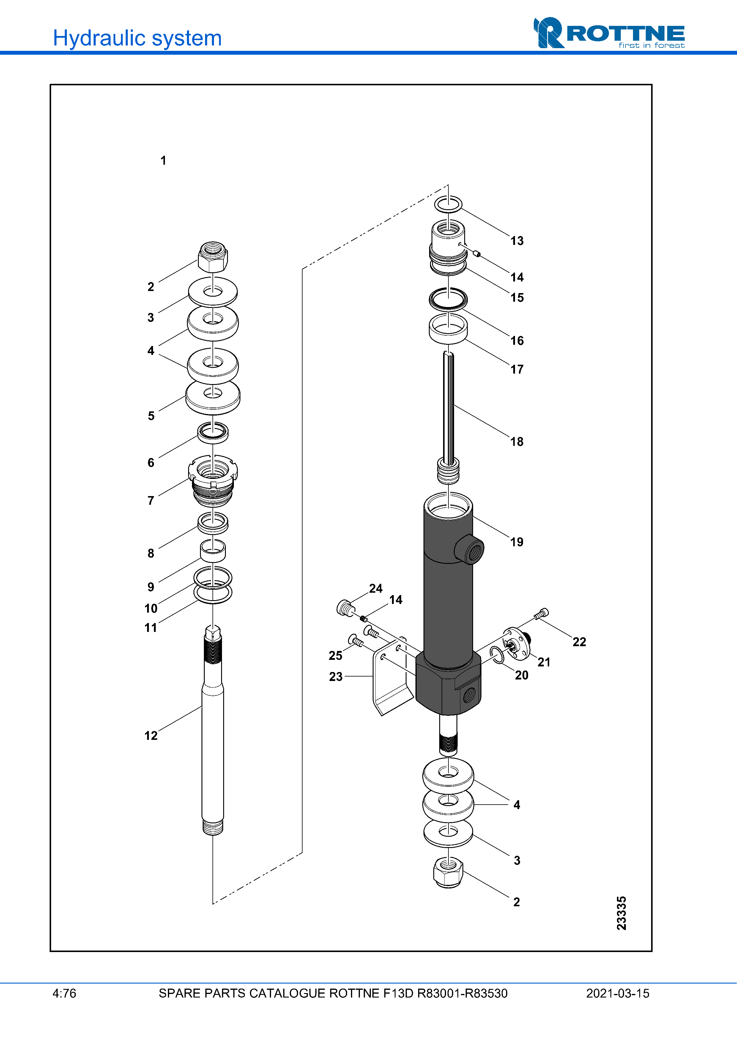
Поз. Кол-во Артикул Наименование
1 1 116-53031 Гидроцилиндр в сборе 35/20 L=262
2 2 611-2016 Гайка M6M 16 8 LOC-KING
3 2 116-53030 Шайба 17X45X3
4 4 116-53028 Резиновый демпфер
5 1 116-53029 Шайба
6 1 628-9004 Стриппер PAK 20/28X5
7 1 116-71481 Гайка цилиндра
8 1 628-9044 Уплотнение штока S1S 20/28X6,3
9 1 628-9187 Направляющее кольцо RGR 20/23X10
10 1 629-2650 Опорное кольцо 30X35
11 1 626-4530 О-кольцо 29,2 X 3,0 70°
12 1 116-53024 Шток поршня Ø20 L=228
13 1 625-9330 О-кольцо 19,2 X 3,0 70°
14 2 605-2009 Винт MSK6SS 4 X 6
15 1 116-53025 Поршень
16 1 628-9480 Уплотнение порошня GH 35/27,5X3,2
17 1 628-9224 Направляющее кольцо PGR 35/29X10
18 1 115-0107 Линейный датчик PS6502 L=100
19 1 116-53061 Гильза цилиндра Ø35 L=218
20 1 625-5805 О-кольцо 14,1 X 1,6 70°
21 1 123-0006 Коннектор 6145
22 5 601-5020 Винт MC6S 4 X 10 12.9
23 1 116-53198 Направляющая пластина
24 1 638-5401 Заглушка с уплотнением R1/8" VSTI
25 2 601-6008 Винт
Не нашли нужную позицию или хотите уточнить стоимость?
Корзина