+7 933 113 06 10 | sale@unitservice-parts.ru | Москва · Ярцево | Написать Канал
Кран

F13D/ F15D Final Tier 4

Гидроцилиндр, подъёмный рычаг (F15D/F13D COMPACT R83000–R83530, 2021-07-06)

Гидроцилиндр, подъёмный рычаг (F15D/F13D COMPACT R83000–R83530, 2021-07-06)

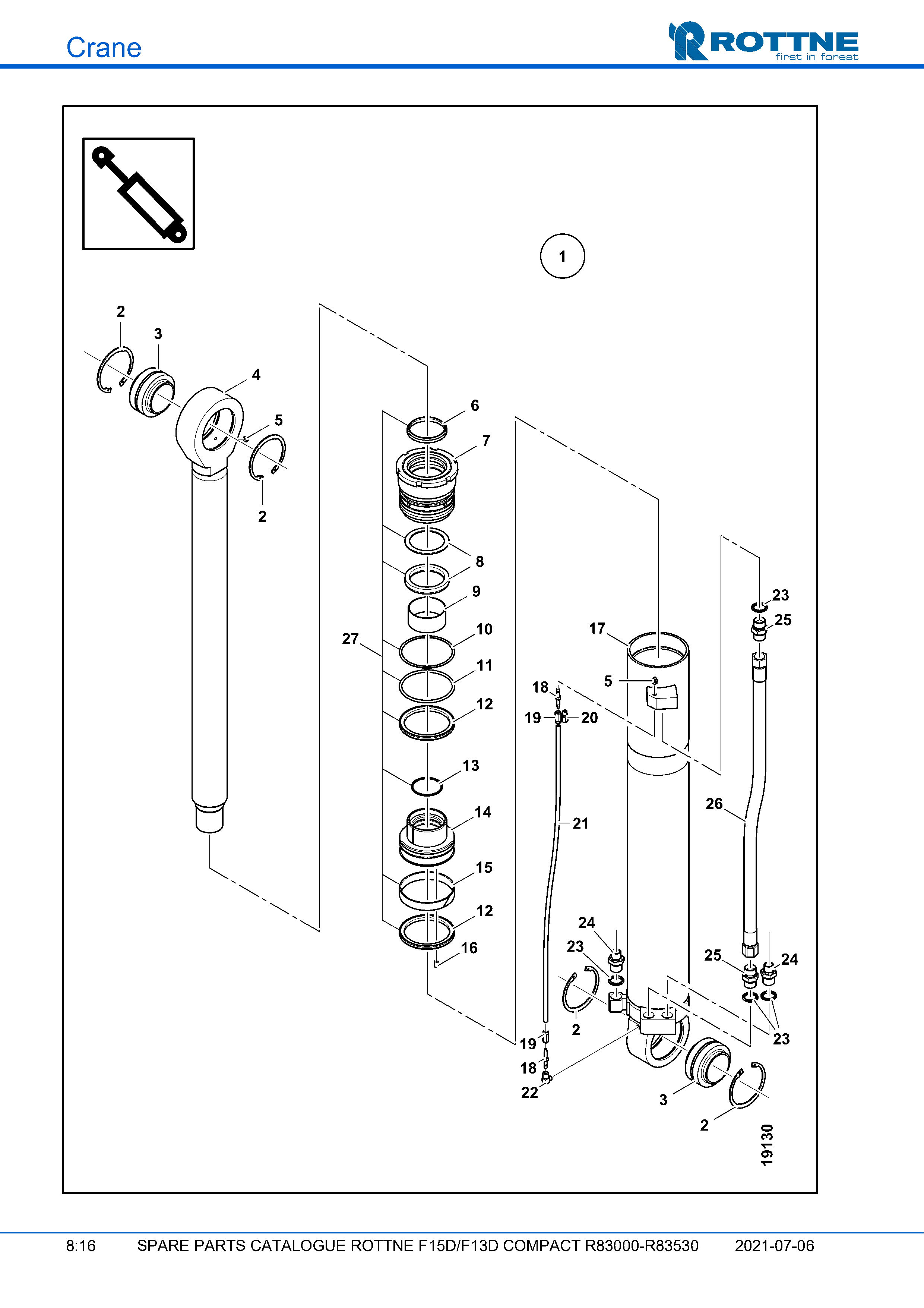
Поз. Кол-во Артикул Наименование
1 1 071-59754 Цилиндр сб. 125/80 L=1230
2 4 621-1105 Стопорное кольцо SGH 105
3 2 645-0144 Шарнирный подшипник GEM70 ES-2RS
4 1 071-0013 Шток поршня Ø80 L=1115
5 2 624-9000 Масленка R1/8" STR.
6 1 628-9027 Стягиватель PA 80/90X7X10
7 1 071-59753 Гайка гидроцилиндра
8 1 628-9087 Уплотнение штока SIL 80/100
9 1 646-4387 Втулка WB802 8040
10 1 629-9130 Опорное кольцо 115 X 125
11 1 627-4855 О-кольцо 114,3 X 5,7 70°
12 2 628-9127 Уплотнение поршня 125/104X8,1
13 1 626-9530 О-кольцо 64,5 X 3,0 70°
14 1 071-59752 Поршень
15 1 628-9245 Направляющее кольцо PWR 125/119X20
16 1 605-2039 Винт MSK6SS 8 X 16
17 1 071-22288 Гильза цилиндра Ø125 L=1068
18 2 071-0064 Внутр. часть 6 - 8,6
19 2 071-0063 Рукав 6 - 8,6
20 1 071-0061 Фитинг GE6-LLR 1/8"KC
21 1 647-8594 Нейлоновый шланг 8,6 (смазка)
22 1 071-0062 Фитинг WE6-LLR 1/8"KC
23 4 640-0020 Резиновая шайба GBR 3/4"
24 2 633-0812 Штуцер R1/2" X R3/4"
25 2 633-1212 Штуцер R3/4" X R3/4"
26 1 655-0848 РВД 3/4" L=805
27 1 660-5128 Комплект уплотнений 125/80
Не нашли нужную позицию или хотите уточнить стоимость?
Корзина