+7 933 113 06 10 | sale@unitservice-parts.ru | Москва · Ярцево | Написать Канал
Кран

F13D/ F15D Final Tier 4

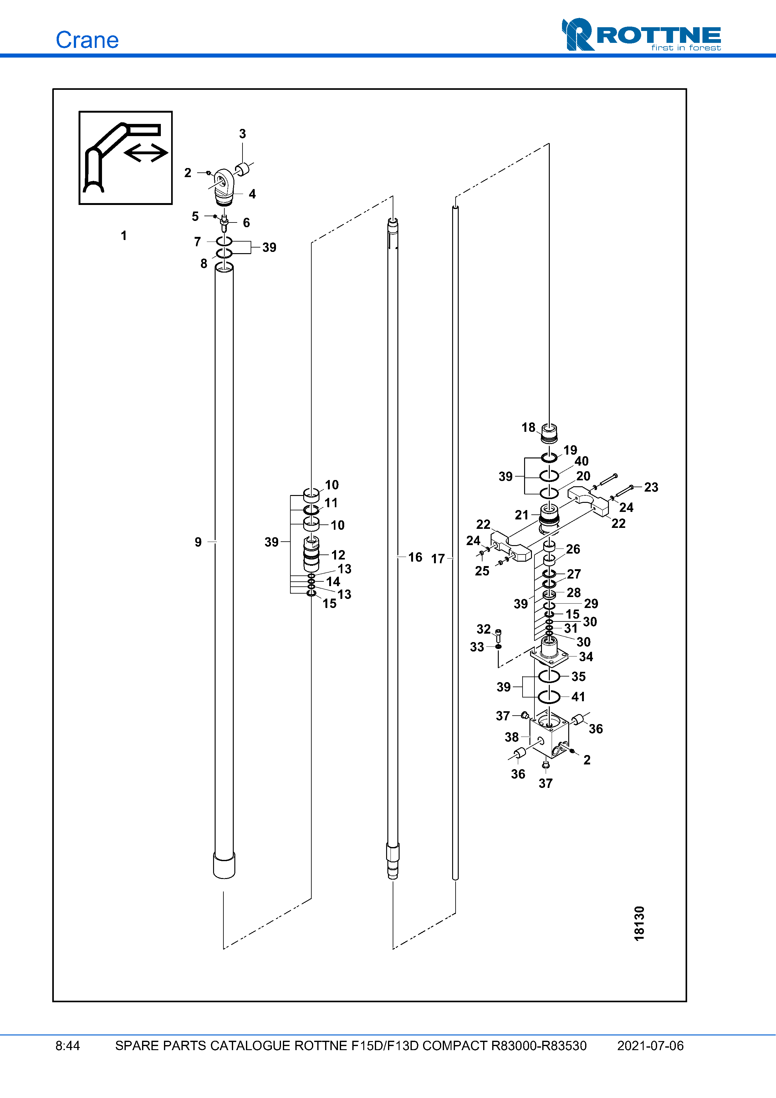
Гидроцилиндр (F15D/F13D COMPACT R83000–R83530, 2021-07-06)

Гидроцилиндр (F15D/F13D COMPACT R83000–R83530, 2021-07-06)

Поз. Кол-во Артикул Наименование
1 1 125-53460 Гидроцилиндр в сборе 55/36 L=3111
2 2 624-9000 Масленка R1/8" STR.
3 1 646-4343 Втулка WB802 3530
4 1 125-53458 Цилиндр с углом
5 1 125-0002 Обратный клапан
6 1 125-50629 Штуцер THROT. SPEC.
7 1 629-3410 Опорное кольцо 50 X 55
8 1 626-7830 О-кольцо 49,5 X 3,0 70°
9 1 125-53452 Гильза цилиндра Ø55 L=2637
10 2 628-9229 Направляющее кольцо PGR 55/50X25
11 1 628-9485 Уплотнение поршня GH 55/44X4,2
12 1 125-53453 Поршень
13 2 629-1820 Опорное кольцо 20X24
14 1 625-9420 О-кольцо 19,3 X 2,4 70°
15 2 125-60014 Проставка T=3,5
16 1 125-55150 Шток поршня Ø36 L=2858
17 1 125-53454 Трубка 20 X 2,5 (L=2931)
18 1 125-53456 Стальное кольцо
20 1 629-4040 Опорное кольцо 60X65
21 1 125-53457 Гайка гидроцилиндра
22 2 125-60731 Опорный цилиндр
23 2 600-2169 Винт
24 4 620-1007 Шайба
25 2 610-2008 Гайка
26 2 628-9194 Направляющее кольцо RGR 36/40X20
27 2 628-9050 Уплотнение штока S09E 36/46,7X4,2
28 1 628-9010 Стержень PA 36/45X7X10
29 1 629-2760 Опорное кольцо 36 X 41
32 4 601-5236 Винт MC6S 12 X 35 12.9
33 4 620-5212 Шайба
34 1 125-60707 Соединительный фланец
35 1 629-4510 Опорное кольцо 70 X 75
36 2 646-4328 Втулка WB802 2530
37 2 638-5403 Заглушка с уплотнением R3/8" VSTI
38 1 125-60705 Цилиндр с углом
39 1 660-6054 Комплект уплотнений 55/36
40 1 626-8630 О-кольцо 59,5 X 3,0 70°
41 1 626-9830 О-кольцо 69,5 X 3,0 70°
Не нашли нужную позицию или хотите уточнить стоимость?
Корзина