+7 933 113 06 10 | sale@unitservice-parts.ru | Москва · Ярцево | Написать Канал
Кран

F13D/ F15D Final Tier 4

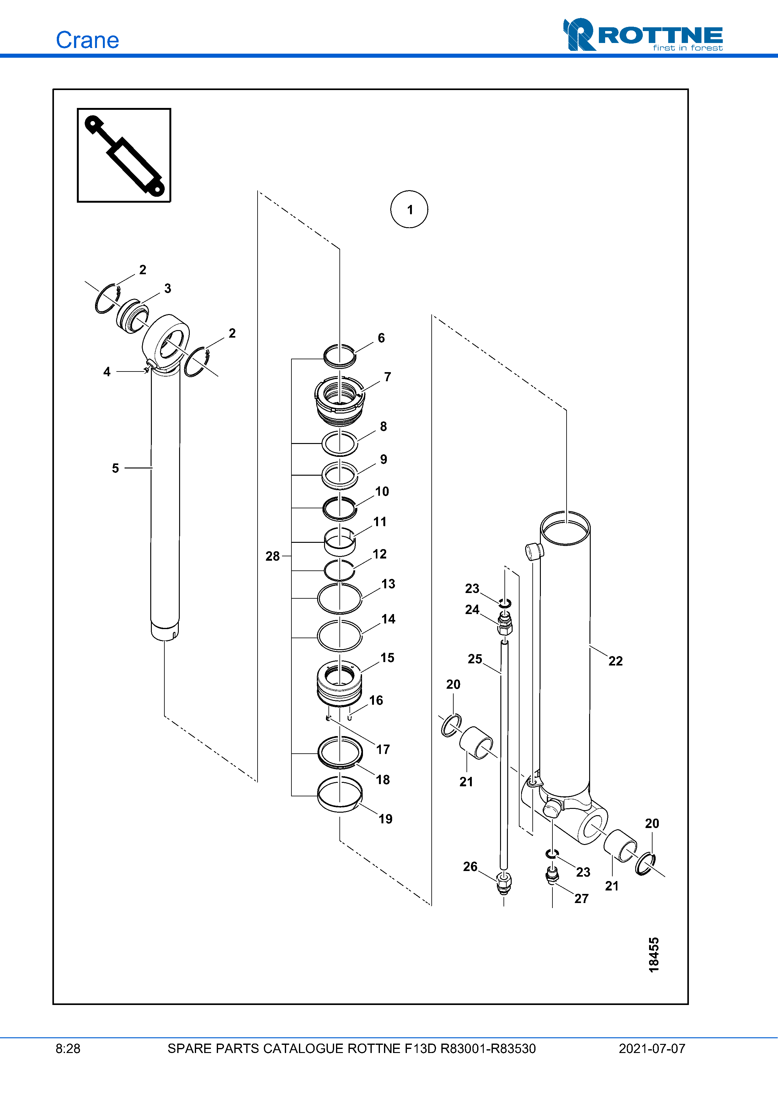
Цилиндр стрелы вылета (F13D R83001–R83530, 2021-07-07)

Цилиндр стрелы вылета (F13D R83001–R83530, 2021-07-07)

Поз. Кол-во Артикул Наименование
1 1 071-55451 Гидроцилиндр 125/80 L=1230
2 2 621-1090 Стопорное кольцо SGH 90
3 1 645-0142 Подшипник скольжения GEM60 ES-2RS
4 1 624-9000 Масленка R1/8" STR.
5 1 071-55447 Шток поршня Ø80 L=1129
6 1 628-9027 Стягиватель PA 80/90X7X10
7 1 071-49553 Гайка гидроцилиндра
8 1 629-5650 Опорное кольцо 80/100 X 3/D-A
9 1 628-9064 Уплотнение штока SI 80/100X13
10 1 628-9063 Уплотнение штока GS 80/95,5X6,3
11 1 628-9199 Направляющее кольцо RGR 80/86X30
12 1 627-1730 О-кольцо 79,5 X 3,0 70°
13 1 629-9130 Опорное кольцо 115 X 125
14 1 627-4855 О-кольцо 114,3 X 5,7 70°
15 1 071-49554 Поршень
16 1 605-2039 Винт MSK6SS 8 X 16
17 1 125-0017 Обратный клапан RKVG-G-06-02
18 1 628-9127 Уплотнение поршня 125/104X8,1
19 1 628-9245 Направляющее кольцо PWR 125/119X20
20 2 628-9021 Стриппер PAK 60/70X7 -L
21 2 646-4741 Втулка PWM 607060
22 1 071-55439 Гильза цилиндра Ø125 L=1075
23 2 640-0020 Резиновая шайба GBR 3/4"
24 1 632-2012 Фитинг трубный GE20SR 60° 3/4
25 1 071-55490 Труба стальная 20X2,5 L=914
27 1 633-1212 Штуцер R3/4" X R3/4"
28 1 660-4128 Комплект уплотнений 125/80
Не нашли нужную позицию или хотите уточнить стоимость?
Корзина