+7 933 113 06 10
|
sale@unitservice-parts.ru
|
Москва · Ярцево
|
Написать
Канал
Rottne
Komatsu Forest
Техбаза
Запросить детали
+7 933 113 06 10
sale@unitservice-parts.ru
Москва · Ярцево
Написать в Telegram
Telegram канал
Каталог Rottne
Каталог Komatsu Forest
Техбаза
Rottne
›
Харвестеры
Форвардеры
Харвестеры
Харвестерные головки
›
H8D Stage V
H11D Stage V
S/N R56901–R57325
H11D Tier 4 Final
S/N R56600–R56824
H11E
S/N R57401-
H21D Final Tier 4
S/N R91000–R91412
H21D Stage V
S/N R91501–R92108
H21E
S/N R92201-
H8D Final Tier 4
S/N R63600–R63820
H8D Stage V
S/N R63901–R63920
H8E
S/N R64001-
›
Гидравлическая система
Двигатель
Система трансмиссии
Гидравлическая система
Электрическая система
Кабина
Рама/шасси
Кран
Харвестерная головка
Блок навесного оборудования
Разное
Инструкции для оператора
Система управления
Безопасность
Техническое обслуживание
H8D Stage V
Гидравлическая система
✕
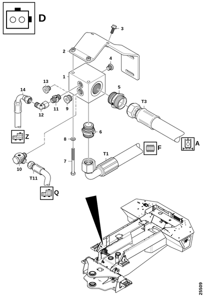
P & T передняя рама
Блок вентилятора
Блок перекрестного соединения
Возвратный блок "D"
Возвратный фильтр, "окружающая среда"
Возвратный фильтр, "окружающая среда"
Входной блок L90LS
Гидравлический масляный бак "A"
Гидравлический масляный охладитель "B"
Гидравлический масляный охладитель "B"
Гидравлический насос A11VO 145 "E"
Гидроцилиндр без линейного передатчика
Гидроцилиндр рычага колеса
Гидроцилиндр с линейным передатчиком
Запорные клапаны
Заправочный насос
Клапан LS "Y"
Клапан понижения давления "I"
Клапан, смазка цепи "G"
Конечная секция L90LS
Контроль уровня
О-образные кольца L90LS
Обзор, рабочая гидравлика
Обзор, распределительный клапан L90LS
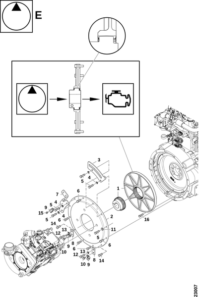
Привод вентилятора
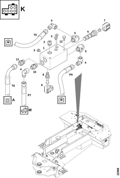
Распределительный блок "J"
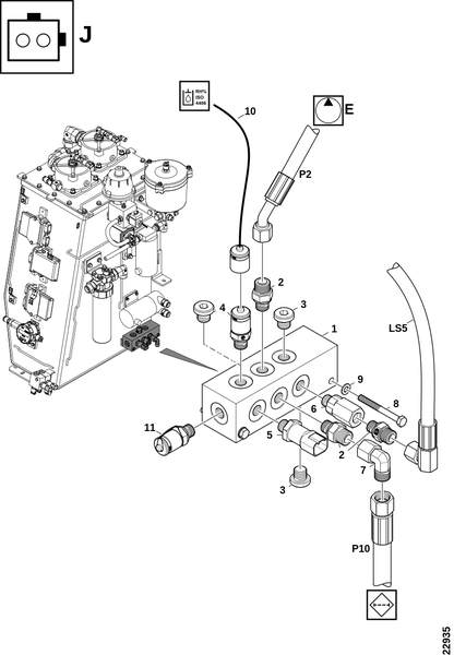
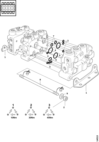
Распределительный клапан
Рулевое управление
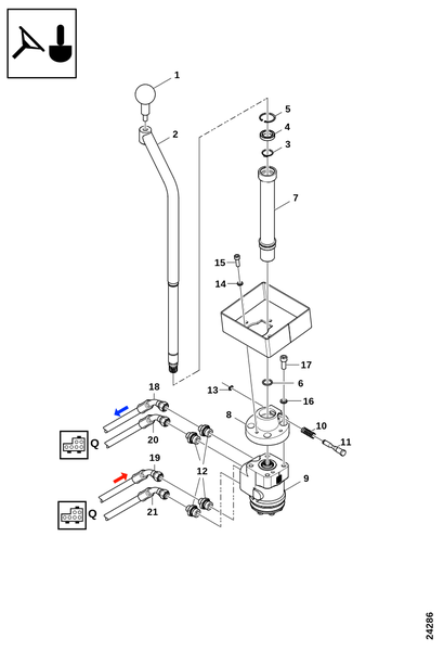
Рычаг, рулевое управление Orbitrol
Секция управления L90LS
Секция управления L90LS, продолжение
Соединения, гидравлический масляный бак
Соединения, гидравлический насос
Соединения, гидроцилиндр рычага колеса
Соединения, распределительный клапан L90LS
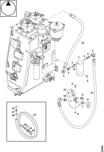
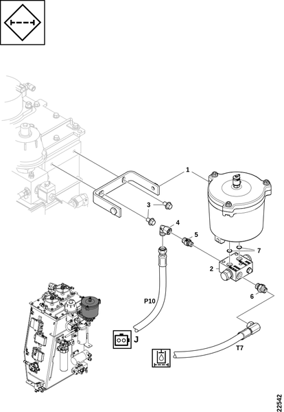
Фильтр Kleenoil
Не нашли нужную деталь?
Отправьте запрос — подберём запчасти для Гидравлическая система по артикулу или описанию.
Запросить запчасти
✕
Запрос деталей
Имя *
Телефон *
Способ связи
Телефон
Telegram
MAX
Email
По артикулу
?
Можно прикрепить файл со списком
артикулов вместо ручного ввода
По названию
?
Опишите нужную деталь словами —
укажите название, модель и серийный номер
Артикул
Кол.
Примечание
✕
+ Добавить позицию
Модель техники *
Серийный номер *
Отправить ПТС / документы вместо заполнения
Прикрепите файл ниже — поля заполнять не нужно
отменить
📎 Перетащите файлы или нажмите для выбора
Excel, PDF, фото — любые форматы
Отправить запрос
✅
Запрос отправлен!
Менеджер свяжется с вами в ближайшее время.
Закрыть
0
Корзина
0
×
Очистить корзину
Прикрепить фото, список или документы
▾
✓ Данные прикреплены
изменить
×
Запросить по названию
Отправить ПТС / документы вместо заполнения
Прикрепите файл ниже — поля заполнять не нужно
отменить
📎 Перетащите файлы или нажмите
Прикрепить к заказу
Узнать стоимость и наличие →
Ваши контакты
Телефон
Telegram
MAX
Email
Отправить заявку →
✅
Заявка отправлена!
Мы свяжемся с вами в ближайшее время
Закрыть