+7 933 113 06 10
|
sale@unitservice-parts.ru
|
Москва · Ярцево
|
Написать
Канал
Rottne
Komatsu Forest
Техбаза
Запросить детали
+7 933 113 06 10
sale@unitservice-parts.ru
Москва · Ярцево
Написать в Telegram
Telegram канал
Каталог Rottne
Каталог Komatsu Forest
Техбаза
Rottne
›
Харвестеры
Форвардеры
Харвестеры
Харвестерные головки
›
H11E
H11D Stage V
H11D Tier 4 Final
H11E
H21D Final Tier 4
H21D Stage V
H21E
H8D Final Tier 4
H8D Stage V
H8E
›
Гидравлическая система
Двигатель
Система трансмиссии
Гидравлическая система
Электрическая система
Кабина
Рама/ шасси
Кран
Харвестерная головка
Блок навесного оборудования
Разное
Сервисный комплект
H11E
Гидравлическая система
✕
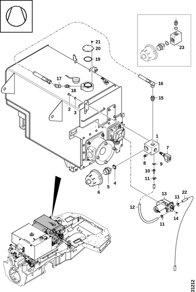
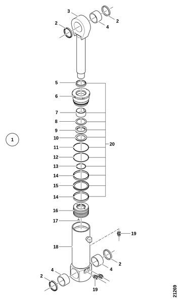
Блок P & T
Возвратный блок
Возвратный блок
Возвратный блок
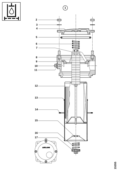
Возвратный фильтр
Воздушный фильтр и вакуумный насос
Гидравлика, шарнир рамы
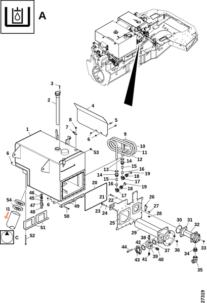
Гидравлический масляный бак "A"
Гидравлический масляный бак "A"
Гидравлический масляный бак "A"
Гидравлический насос A15VO210
Гидравлический цилиндр, RK220
Гидроцилиндр, клапан кабины
Гидроцилиндр, лестница кабины
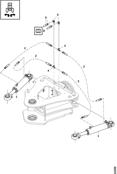
Гидроцилиндр, подъём задней тележки
Гидроцилиндр, подъём передней тележки
Гидроцилиндр, рулевое управление
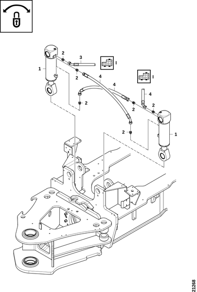
Гидроцилиндр, центральная стабилизация
Дополнительный радиатор, гидравлика
Заправочный насос и фильтр Kleenoil
Клапан кабины
Клапан манипулятора
Клапан манипулятора VA300 RK220
Клапан, подъём тележки
Клапанный блок Compl. L90LS
Комфортная линия
Крепление насоса
Лестница, передняя
Обзор, рабочая гидравлика
Орбитрол рулевого управления "M"
Охлаждение, гидравлика
Привод вентилятора
Размещение компонентов
Сервисный блок
Сервисный блок "G"
Сервисный блок "I"
Сервисный блок "I"
Сервисный блок "K"
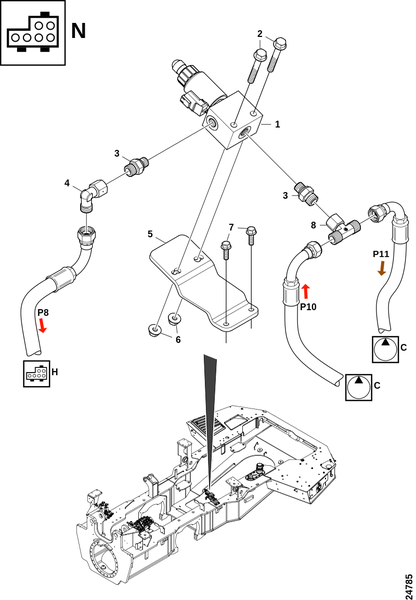
Сервисный блок "N"
Соединения клапана манипулятора VA300 RK220
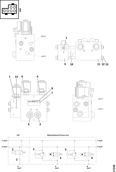
Соединения, LS-клапан "N"
Соединения, возвратный блок "A"
Соединения, возвратный блок "F"
Соединения, клапан кабины "P"
Соединения, подъём задней тележки
Соединения, подъём передней тележки
Соединения, распределительный блок
Соединения, сервисный блок "G"
Соединения, сервисный блок "H"
Соединения, сервисный блок "I"
Соединения, сервисный блок "J"
Соединения, тормоз и дифференциал
Соединения, тормоз и дифференциалы, задняя ось
Соединения, центральная стабилизация
Т-образное соединение
Теплообменник "B"
Фильтр утечки масла (Окружающая среда)
Не нашли нужную деталь?
Отправьте запрос — подберём запчасти для Гидравлическая система по артикулу или описанию.
Запросить запчасти
✕
Запрос деталей
Имя *
Телефон *
Способ связи
Телефон
Telegram
MAX
Email
По артикулу
?
Можно прикрепить файл со списком
артикулов вместо ручного ввода
По названию
?
Опишите нужную деталь словами —
укажите название, модель и серийный номер
Артикул
Кол.
Примечание
✕
+ Добавить позицию
Модель техники *
Серийный номер *
Отправить ПТС / документы вместо заполнения
Прикрепите файл ниже — поля заполнять не нужно
отменить
📎 Перетащите файлы или нажмите для выбора
Excel, PDF, фото — любые форматы
Отправить запрос
✅
Запрос отправлен!
Менеджер свяжется с вами в ближайшее время.
Закрыть
0
Корзина
0
×
Очистить корзину
Прикрепить фото, список или документы
▾
✓ Данные прикреплены
изменить
×
Запросить по названию
Отправить ПТС / документы вместо заполнения
Прикрепите файл ниже — поля заполнять не нужно
отменить
📎 Перетащите файлы или нажмите
Прикрепить к заказу
Узнать стоимость и наличие →
Ваши контакты
Телефон
Telegram
MAX
Email
Отправить заявку →
✅
Заявка отправлена!
Мы свяжемся с вами в ближайшее время
Закрыть