+7 933 113 06 10 | sale@unitservice-parts.ru | Москва · Ярцево | Написать Канал
H11E

Харвестерная головка

L90LS, пила и подача пилы
L90LS, пила и подача пилы
L90LS, средний входной блок
L90LS, средний входной блок
Верхние подающие колёса
Верхние подающие колёса
Гидромотор пилы QXM42-HS
Гидромотор пилы QXM42-HS
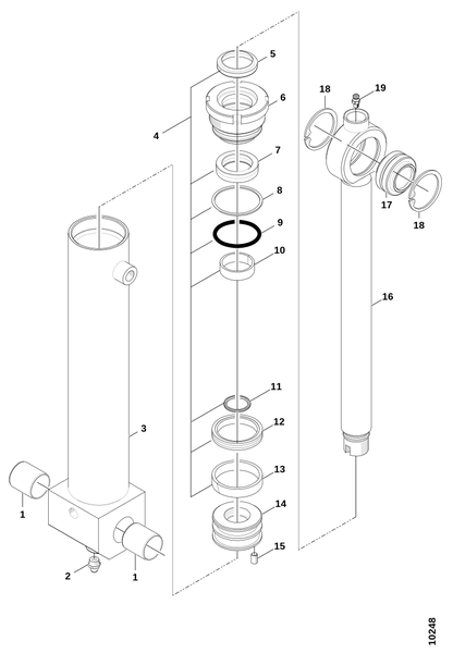
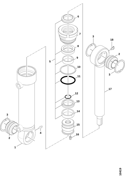
Гидроцилиндр
Гидроцилиндр
PDF
Гидроцилиндр
Гидроцилиндр
PDF
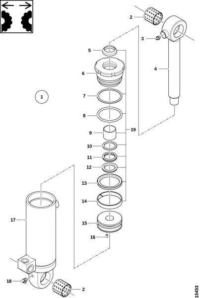
Гидроцилиндр 160/100-405
Гидроцилиндр 160/100-405
PDF
Гидроцилиндр 160/100-405
Гидроцилиндр 160/100-405
PDF
Гидроцилиндр пилы
Гидроцилиндр пилы
Гидроцилиндр пилы, продолжение
Гидроцилиндр пилы, продолжение
Гидроцилиндр, верхние ножи сучкорезки
Гидроцилиндр, верхние ножи сучкорезки
Гидроцилиндр, нижние ножи сучкорезки
Гидроцилиндр, нижние ножи сучкорезки
Гидроцилиндр, рычаги колёс
Гидроцилиндр, рычаги колёс
Гидроцилиндр, устройство измерения длины s. 8 № 01–
Гидроцилиндр, устройство измерения длины s. 8 № 01–
Гидроцилиндр, устройство измерения длины s.–7 № 10
Гидроцилиндр, устройство измерения длины s.–7 № 10
Дистанционная втулка, гидромотор пилы
Дистанционная втулка, гидромотор пилы
Импульсный энкодер s. 8 № 01–
Импульсный энкодер s. 8 № 01–
Импульсный энкодер s. –7 № 10
Импульсный энкодер s. –7 № 10
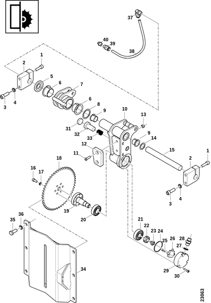
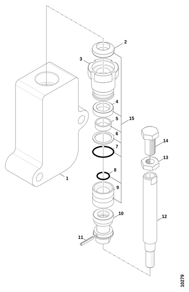
Качающийся рычаг и оси
Качающийся рычаг и оси
Качающийся рычаг, гидроцилиндр
Качающийся рычаг, гидроцилиндр
Комплект адаптеров RC185
Комплект адаптеров RC185
PDF
Комплект адаптеров RC185
Комплект адаптеров RC185
PDF
Комплект наклеек
Комплект наклеек
PDF
Комплект смазки
Комплект смазки
PDF
Комплект смазки
Комплект смазки
PDF
Комплект шлангов
Комплект шлангов
PDF
Комплект шлангов
Комплект шлангов
PDF
Конечная секция L90LS
Конечная секция L90LS
Корпус с энкодером положения пилы
Корпус с энкодером положения пилы
Крепление пильной шины
Крепление пильной шины
Кронштейн шланга
Кронштейн шланга
PDF
Кронштейн шланга
Кронштейн шланга
PDF
Ловитель цепи
Ловитель цепи
Механизм измерения диаметра
Механизм измерения диаметра
Насос системы цветовой маркировки
Насос системы цветовой маркировки
Натяжитель цепи, пилотный клапан
Натяжитель цепи, пилотный клапан
Нижние подающие колёса
Нижние подающие колёса
Ножи сучкорезки и оси
Ножи сучкорезки и оси
О-кольца L90LS
О-кольца L90LS
Обзор, L90LS
Обзор, L90LS
Основная стрела HC155/185
Основная стрела HC155/185
PDF
Основная стрела HC155/185
Основная стрела HC155/185
PDF
Параллельный гидроцилиндр HC185
Параллельный гидроцилиндр HC185
PDF
Параллельный гидроцилиндр HC185
Параллельный гидроцилиндр HC185
PDF
Пила SuperCut 100
Пила SuperCut 100
Полевой ремонтный комплект
Полевой ремонтный комплект
PDF
Полевой ремонтный комплект
Полевой ремонтный комплект
PDF
Привод цепи, гидромотор пилы
Привод цепи, гидромотор пилы
Рабочий свет LED
Рабочий свет LED
PDF
Рабочий свет Xenon
Рабочий свет Xenon
PDF
Рабочий свет ксенон
Рабочий свет ксенон
PDF
Рабочий светодиодный
Рабочий светодиодный
PDF
Рычаги колёс
Рычаги колёс
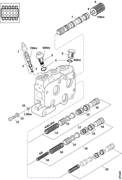
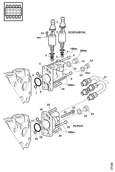
Секция управления L90LS
Секция управления L90LS
Секция управления L90LS, продолжение
Секция управления L90LS, продолжение
Секция управления L90LS, продолжение
Секция управления L90LS, продолжение
Система цветовой маркировки
Система цветовой маркировки
Смазка цепи
Смазка цепи
Соединение ротатора
Соединение ротатора
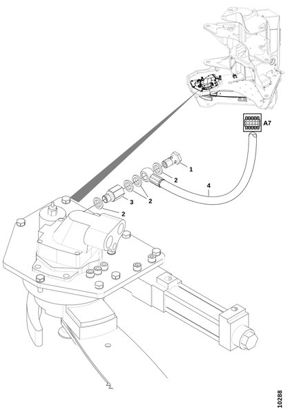
Соединения "A9"
Соединения "A9"
Соединения, верхние ножи сучкорезки
Соединения, верхние ножи сучкорезки
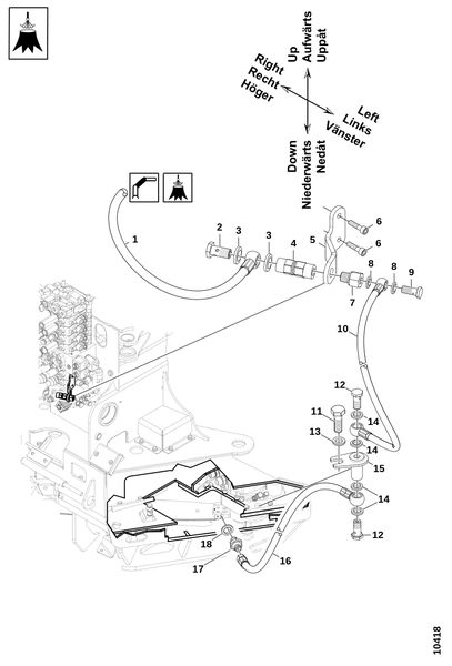
Соединения, качающийся рычаг "A5"
Соединения, качающийся рычаг "A5"
Соединения, колесо и гидромотор
Соединения, колесо и гидромотор
Соединения, натяжитель цепи
Соединения, натяжитель цепи
Соединения, нижние ножи сучкорезки
Соединения, нижние ножи сучкорезки
Соединения, пила "A10"
Соединения, пила "A10"
Соединения, пила "A9"
Соединения, пила "A9"
Соединения, подающие колёса
Соединения, подающие колёса
Соединения, подающие колёса, продолжение
Соединения, подающие колёса, продолжение
Соединения, рычаги колёс
Соединения, рычаги колёс
Соединения, система цветовой маркировки "A10"
Соединения, система цветовой маркировки "A10"
Соединения, система цветовой маркировки "A3"
Соединения, система цветовой маркировки "A3"
Соединения, устройство измерения длины s. 8 № 01–
Соединения, устройство измерения длины s. 8 № 01–
Соединения, устройство измерения длины s.–7 № 10
Соединения, устройство измерения длины s.–7 № 10
PDF
Уплотнение вала, гидромотор пилы
Уплотнение вала, гидромотор пилы
Уплотнение, SuperCut 100
Уплотнение, SuperCut 100
Устройство измерения длины s. 8 № 01–
Устройство измерения длины s. 8 № 01–
Устройство измерения длины s. –7 № 10
Устройство измерения длины s. –7 № 10
Шасси
Шасси
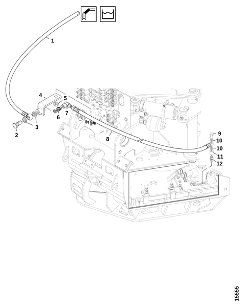
Шланги и трубы
Шланги и трубы
PDF
Шланги и трубы
Шланги и трубы
PDF
Шланги, натяжитель цепи
Шланги, натяжитель цепи
Шланги, система распыления на пни
Шланги, система распыления на пни
Электропроводка, электроника и датчик
Электропроводка, электроника и датчик
Не нашли нужную деталь? Отправьте запрос — подберём запчасти для Харвестерная головка по артикулу или описанию.
Корзина