+7 933 113 06 10 | sale@unitservice-parts.ru | Москва · Ярцево | Написать Канал
Рама/шасси

F13D/ F15D Final Tier 4

Карданные валы (F15D/F13D COMPACT R83000–R83530, 2021-07-06, 722358)

Карданные валы (F15D/F13D COMPACT R83000–R83530, 2021-07-06, 722358)

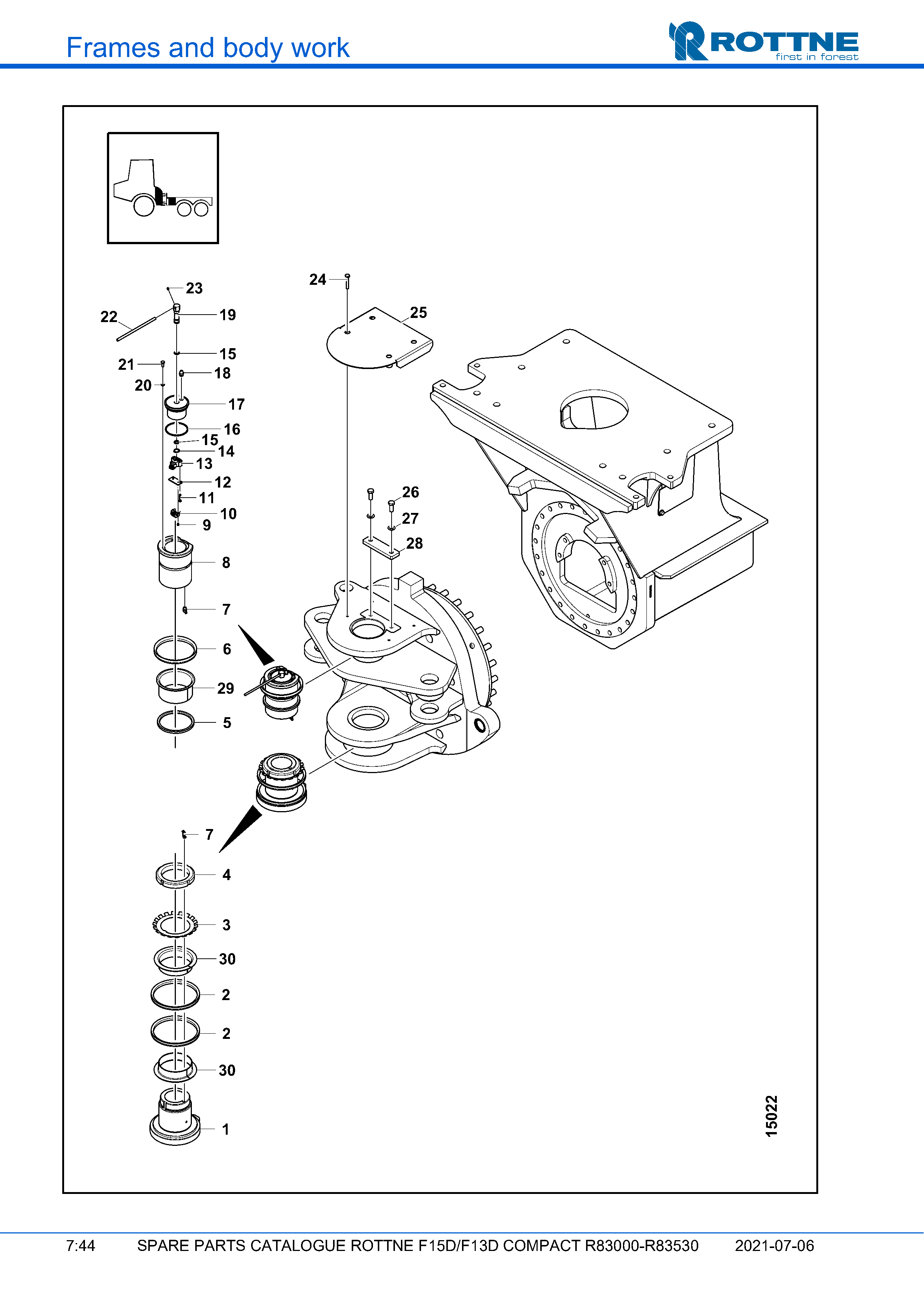
Поз. Кол-во Артикул Наименование
1 1 120-45403 Основная плита
2 2 659-0150 V-кольцо V-150 A
3 1 646-1020 Запорная шайба MB20
4 1 646-0020 Стопорная гайка KM20
5 1 628-9035 Стриппер 110/125X7 -L
6 1 659-0130 V-кольцо V-130 A
7 2 624-9010 Масленка R1/8" 45°
8 1 120-45163 Соединительный вал
9 2 602-2003 Шлицевый винт MCS 3 X 6
11 2 602-2027 Шлицевый винт MCS 4 X 22
12 1 092-17922 Кронштейн
13 1 085-0105 Угловой индикатор (позиционный индикатор)
14 1 621-0016 Стопорное кольцо SGA 16
15 2 625-4730 О-кольцо 11,0 X 3,0 70°
16 1 626-9530 О-кольцо 64,5 X 3,0 70°
17 1 092-17919 Кронштейн для углового индикатора
18 1 658-4698 Кабель балансировочный PG7 5-7 (IP68)
19 1 092-27011 Вал поворотный
20 3 620-4007 Задерживающая плита 6 H=6,4
21 3 600-2078 Винт M6S 6 X 16
22 1 100-44859 Штанга
23 1 605-2017 Винт MSK6SS 5 X 8
24 4 601-6541 Винт MF6S 8 X 50 10.9 FZB
25 1 117-39071 Крышка
26 2 600-2234 Винт M6S 12 X 30
27 2 620-1011 Шайба
28 1 120-45165 Ограничитель поворота
29 1 646-4534 Втулка FL. WB802WF 11060
30 2 646-4532 Втулка FL. WB802WF 11032
Не нашли нужную позицию или хотите уточнить стоимость?
Корзина