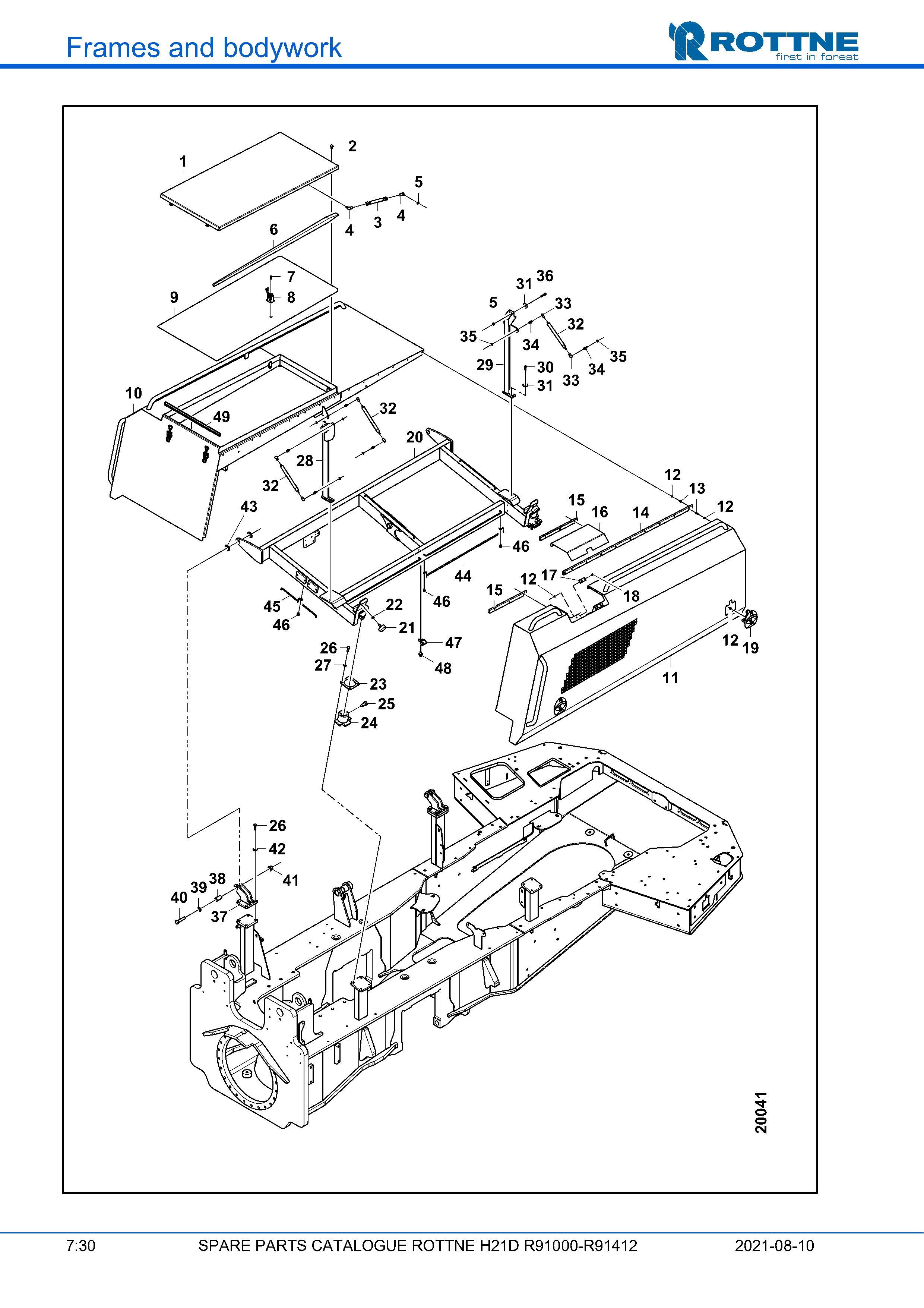
| 1 |
1 |
124-50654
|
Крышка |
| 2 |
4 |
607-1620
|
Винт |
| 3 |
2 |
100-0015
|
Газовая пружина 280/500N |
| 4 |
4 |
049-0035
|
Уголковая шарнирная связь, M8 справа |
| 5 |
4 |
611-2008
|
Гайка M6M 8 8 LOC-KING |
| 6 |
1 |
653-1000
|
Железный бар L=1200 |
| 7 |
4 |
607-1607
|
Винт с буртом M6SF 5 X 20 |
| 8 |
1 |
124-0004
|
Хомут QUICK FIST MINI |
| 9 |
1 |
124-51951
|
Резиновое полотно T=3 1215X590 |
| 10 |
1 |
129-56499
|
Капот |
| 11 |
1 |
129-57842
|
Крышка |
| 12 |
36 |
611-9005
|
Гайка |
| 13 |
32 |
607-1606
|
Винт с буртом M6SF 5 X 16 |
| 14 |
1 |
129-57863
|
Петля L=1277 |
| 15 |
2 |
124-46964
|
Петля L=364 |
| 16 |
1 |
124-53968
|
Крышка |
| 17 |
2 |
124-0005
|
Магнит 70X22X6 SG |
| 18 |
4 |
602-5187
|
Винт |
| 19 |
2 |
116-0015
|
Ручка |
| 20 |
1 |
129-56496
|
|
| 21 |
2 |
046-0242
|
Резиновый демпфер |
| 22 |
2 |
615-2010
|
Гайка M6M 4 8 Fzb |
| 23 |
2 |
100-22727
|
Шайба |
| 24 |
2 |
100-22693
|
Втулка |
| 25 |
2 |
600-2272
|
Винт M6S 16 X 40 |
| 26 |
8 |
600-2199
|
Винт |
| 27 |
8 |
620-4011
|
Удерживающая пластина 10 H=10,5 |
| 28 |
1 |
129-57882
|
Распорка, передняя |
| 29 |
1 |
129-57883
|
Распорка задняя |
| 30 |
2 |
600-2151
|
Винт MC6S 10 X 50 12.9 |
| 31 |
3 |
072-0156
|
Шайба 8,5X35X4 |
| 32 |
3 |
100-0031
|
Газовая пружина 356/900N |
| 33 |
6 |
100-0002
|
Артикулированный соединитель |
| 34 |
6 |
058-0096
|
Шариковый соединитель 39 010 |
| 35 |
6 |
610-2008
|
Гайка |
| 36 |
2 |
600-2155
|
Винт |
| 37 |
2 |
129-57443
|
Петля |
| 38 |
2 |
124-51871
|
124-51871 |
| 39 |
2 |
620-1014
|
Шайба |
| 40 |
2 |
600-2283
|
Винт M6S 16 X 70 |
| 41 |
2 |
611-9016
|
Гайка |
| 42 |
8 |
620-1075
|
Шайба TBRSB 10,5X28 |
| 43 |
4 |
088-0045
|
Скользящая шайба 1,5X26X44 SBT |
| 44 |
4 |
037-58819
|
Кронштейн для шланга детектора |
| 45 |
1 |
037-58821
|
Кронштейн для шланга детектора |
| 46 |
9 |
607-1617
|
Винт с фланцем M6SF 8 X 12 |
| 47 |
1 |
624-8812
|
Регулируемый хомут с резиновым уплотнением 12/20 |
| 49 |
1 |
647-8771
|
Край/уплотнительная лента |