+7 933 113 06 10 | sale@unitservice-parts.ru | Москва · Ярцево | Написать Канал
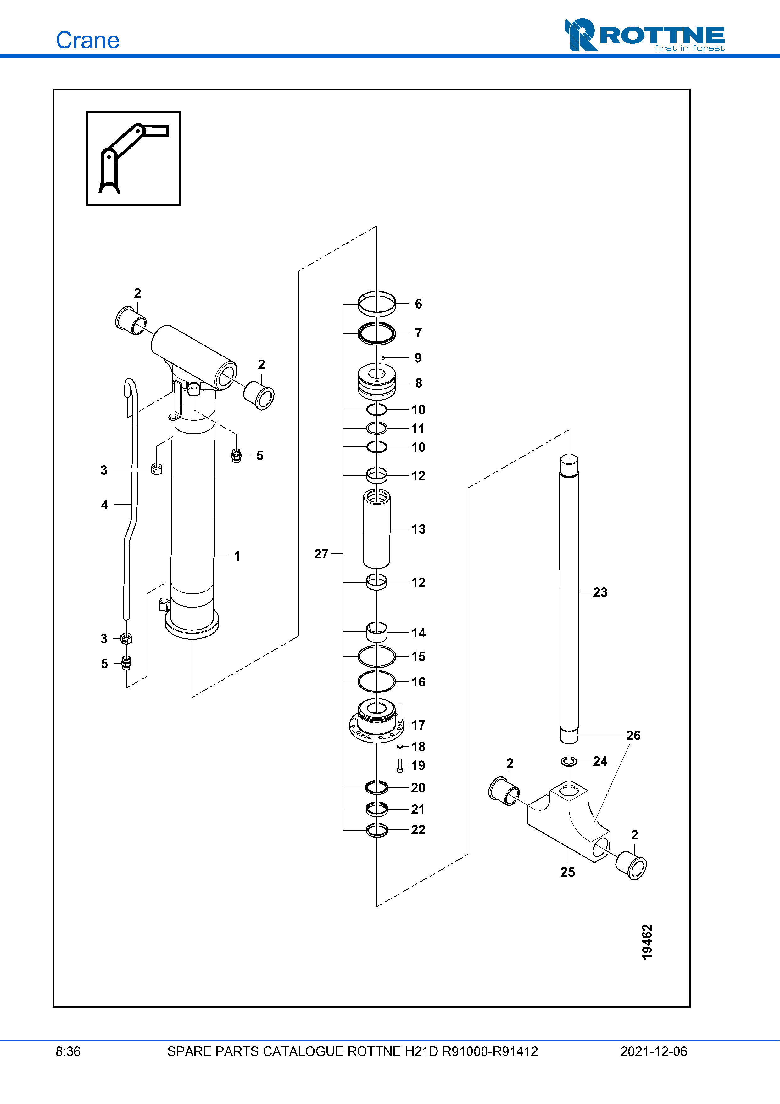
Кран

H21D Final Tier 4

Цилиндр, параллельный

Цилиндр, параллельный

Поз. Кол-во Артикул Наименование
1 1 130-54970 Гильза цилиндра Ø140 L=1214
2 2 112-63886 FL.BUSHING GRAFIT 60/75X80
3 2 639-0220 Гайка функциональная M 20S
4 1 130-55607 Масляная труба
6 1 628-9248 Направляющее кольцо PWR 140/134X20
7 1 628-9126 Уплотнение поршня 140/119X8,1
8 1 130-54977 Поршень
8 1 130-70699 Поршень
9 1 605-2034 Винт MSK6SS 8 X 10
10 2 629-4510 Опорное кольцо 70 X 75
11 1 626-9830 О-кольцо 69,5 X 3,0 70°
12 2 628-9232 Направляющее кольцо КОЛ 70/76X20
13 1 130-55055 Проставка
14 1 628-9233 Направляющее кольцо RGR 70/76X40
15 1 627-5955 О-кольцо 129,3 X 5,7 70°
16 1 629-9260 Опорное кольцо 130 X 140
17 1 130-54978 Гайка гидроцилиндра
18 12 620-5212 Шайба
19 12 601-5238 Винт
20 1 628-9057 Уплотнение штока GS 70/85,5X6,3
21 1 628-9055 Уплотнение штока SIL 70/80X12,5
22 1 628-9024 Стриппер PA 70/80X7X10
26 1 130-70655 Шток поршня сборный Ø70 L=1387
27 1 660-2147 Комплект уплотнений 140/70
Не нашли нужную позицию или хотите уточнить стоимость?
Корзина