+7 933 113 06 10 | sale@unitservice-parts.ru | Москва · Ярцево | Написать Канал
H11D Tier 4 Final

HARVESTER HEAD

L90LS, пила и подача пилы
L90LS, пила и подача пилы
L90LS, средний входной блок
L90LS, средний входной блок
Верхние подающие колёса
Верхние подающие колёса
Гидромотор пилы QXM42-HS
Гидромотор пилы QXM42-HS
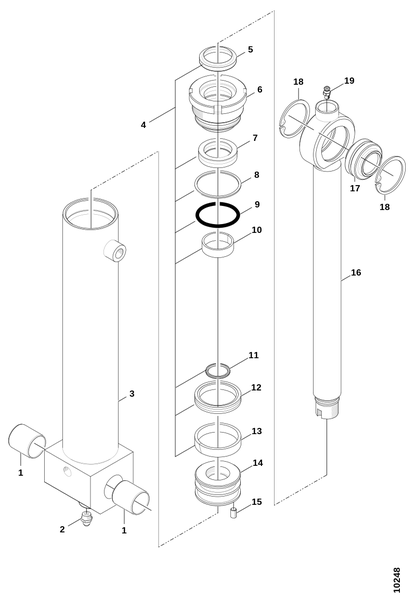
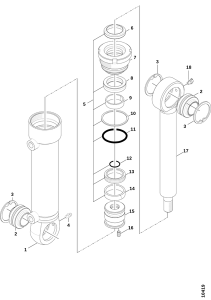
Гидроцилиндр пилы
Гидроцилиндр пилы
Гидроцилиндр пилы, продолжение
Гидроцилиндр пилы, продолжение
Гидроцилиндр, верхние ножи сучкорезки
Гидроцилиндр, верхние ножи сучкорезки
Гидроцилиндр, нижние ножи сучкорезки
Гидроцилиндр, нижние ножи сучкорезки
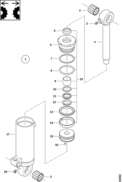
Гидроцилиндр, рычаги колёс
Гидроцилиндр, рычаги колёс
Гидроцилиндр, устройство измерения длины s. 8 № 01–
Гидроцилиндр, устройство измерения длины s. 8 № 01–
Гидроцилиндр, устройство измерения длины s.–7 № 10
Гидроцилиндр, устройство измерения длины s.–7 № 10
Дистанционная втулка, гидромотор пилы
Дистанционная втулка, гидромотор пилы
Импульсный энкодер s. 8 № 01–
Импульсный энкодер s. 8 № 01–
Импульсный энкодер s. –7 № 10
Импульсный энкодер s. –7 № 10
Качающийся рычаг и оси
Качающийся рычаг и оси
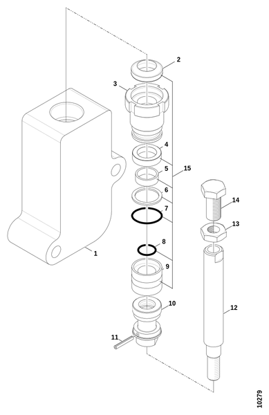
Качающийся рычаг, гидроцилиндр
Качающийся рычаг, гидроцилиндр
Конечная секция L90LS
Конечная секция L90LS
Корпус с энкодером положения пилы
Корпус с энкодером положения пилы
Крепление пильной шины
Крепление пильной шины
Ловитель цепи
Ловитель цепи
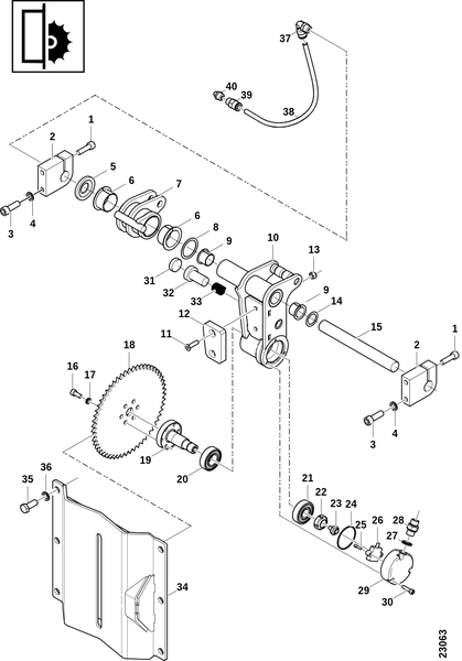
Механизм измерения диаметра
Механизм измерения диаметра
Насос системы цветовой маркировки
Насос системы цветовой маркировки
Натяжитель цепи, пилотный клапан
Натяжитель цепи, пилотный клапан
Нижние подающие колёса
Нижние подающие колёса
Ножи сучкорезки и оси
Ножи сучкорезки и оси
Обзор, L90LS
Обзор, L90LS
Пила SuperCut 100
Пила SuperCut 100
Рычаги колёс
Рычаги колёс
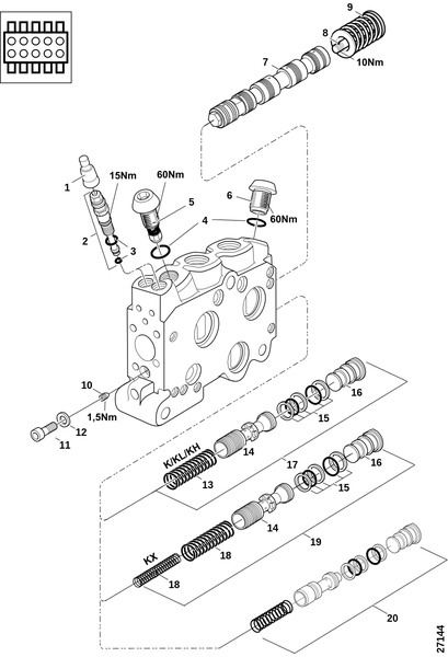
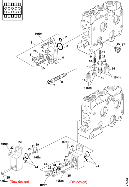
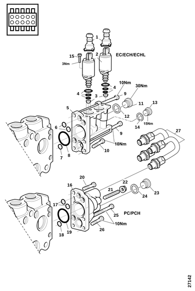
Секция управления L90LS
Секция управления L90LS
Секция управления L90LS, продолжение
Секция управления L90LS, продолжение
Секция управления L90LS, продолжение
Секция управления L90LS, продолжение
Система цветовой маркировки
Система цветовой маркировки
Смазка цепи
Смазка цепи
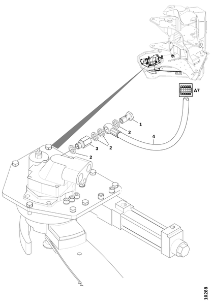
Соединение ротатора
Соединение ротатора
Соединения "A9"
Соединения "A9"
Соединения, верхние ножи сучкорезки
Соединения, верхние ножи сучкорезки
Соединения, качающийся рычаг "A5"
Соединения, качающийся рычаг "A5"
Соединения, колёса и гидромотор
Соединения, колёса и гидромотор
Соединения, натяжитель цепи
Соединения, натяжитель цепи
Соединения, нижние ножи сучкорезки
Соединения, нижние ножи сучкорезки
Соединения, пила "A10"
Соединения, пила "A10"
Соединения, пила "A9"
Соединения, пила "A9"
Соединения, подающие колёса
Соединения, подающие колёса
Соединения, подающие колёса, продолжение
Соединения, подающие колёса, продолжение
Соединения, рычаги колёс
Соединения, рычаги колёс
Соединения, система цветовой маркировки "A10"
Соединения, система цветовой маркировки "A10"
Соединения, система цветовой маркировки "A3"
Соединения, система цветовой маркировки "A3"
Соединения, устройство измерения длины s. 8 № 01–
Соединения, устройство измерения длины s. 8 № 01–
Соединения, устройство измерения длины s.–7 № 10
Соединения, устройство измерения длины s.–7 № 10
Уплотнение вала, гидромотор пилы
Уплотнение вала, гидромотор пилы
Уплотнение, SuperCut 100
Уплотнение, SuperCut 100
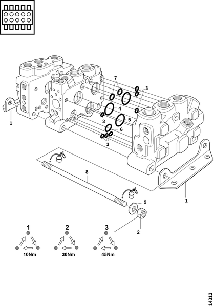
Уплотнительные кольца L90LS
Уплотнительные кольца L90LS
Устройство измерения длины s. 8 № 01–
Устройство измерения длины s. 8 № 01–
Устройство измерения длины s. –7 № 10
Устройство измерения длины s. –7 № 10
Цепной привод, гидромотор пилы
Цепной привод, гидромотор пилы
Шасси
Шасси
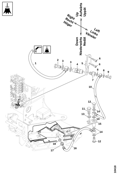
Шланги, натяжитель цепи
Шланги, натяжитель цепи
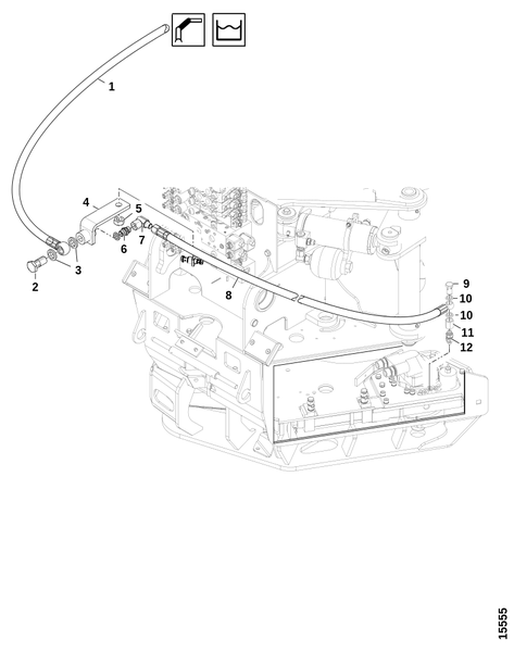
Шланги, система распыления на пни
Шланги, система распыления на пни
Электропроводка, электроника и датчик
Электропроводка, электроника и датчик
Не нашли нужную деталь? Отправьте запрос — подберём запчасти для HARVESTER HEAD по артикулу или описанию.
Корзина