+7 933 113 06 10 | sale@unitservice-parts.ru | Москва · Ярцево | Написать Канал
Гидравлическая система

F15D Tier 3 Volvo

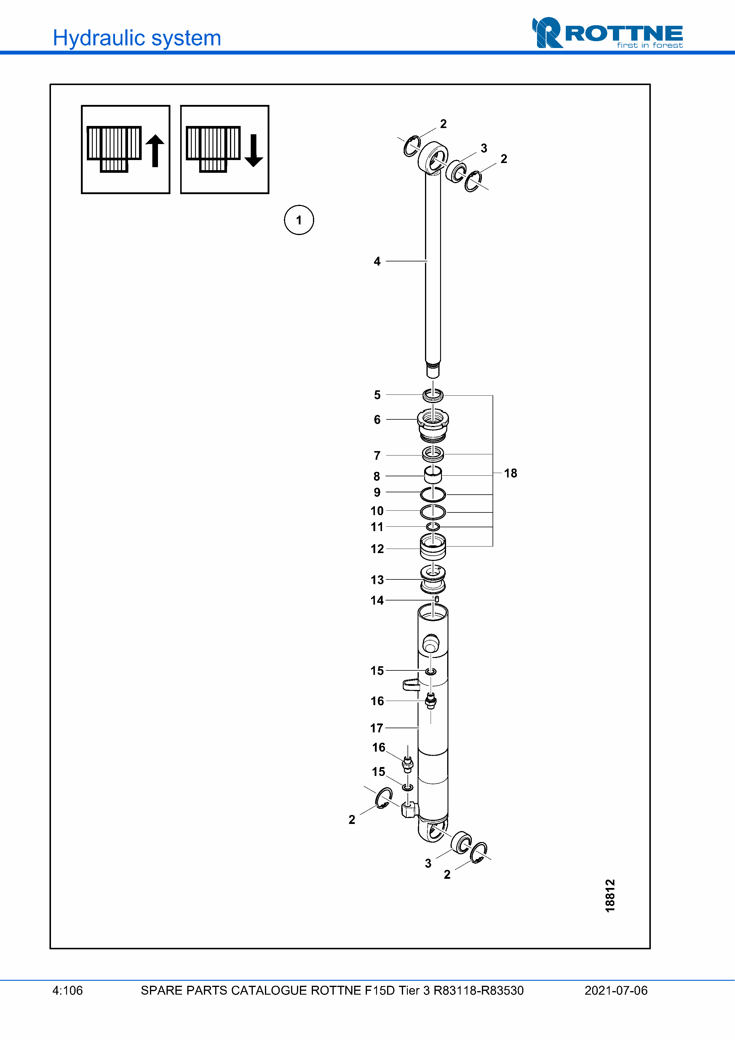
Цилиндр заголовочного щита, вверх-вниз

Цилиндр заголовочного щита, вверх-вниз

Поз. Кол-во Артикул Наименование
1 1 117-43672 Гидроцилиндр в сборе 50/30 L=579
2 4 621-1042 Стопорное кольцо SGH 42
3 2 645-2015 Шарнирный подшипник GE 25 TXE-2LS
4 1 092-18741 Шток поршня Ø30 L=533
5 1 628-9008 Стриппер GA 30/40X5X8
6 1 046-0200 Гайка гидроцилиндра
7 1 628-9048 Уплотнение штока SG 30/42
8 1 646-4333 Втулка WB802 3020
9 1 629-3035 Опорное кольцо 45/50
10 1 626-7730 О-кольцо 44,2 X 3,0 70°
11 1 626-0620 О-кольцо 21,4 X 2,4 70°
12 1 628-9395 Уплотнение поршня 50 MM,низкое трение
13 1 046-0199 Поршень
14 1 605-2027 Винт MSK6SS 6 X 12
15 2 640-0014 Резиновая стальная шайба GB-R 1/4"
16 2 633-0404 Штуцер R1/4" X R1/4"
17 1 092-18739 Гильза цилиндра Ø50 L=525
18 1 660-0053 Комплект уплотнений 50/30
Не нашли нужную позицию или хотите уточнить стоимость?
Корзина